このブログは、JIS規格の製図、なかでも機械製図に関するものを掲載しています。
この頁では、JIS規格の機械製図を説明し、JIS規格とは違う観点からの解説や
コメントを述べています。
二つの面の交わり部
二つの面が交わる部分(相貫部分)を表す線は、次による。
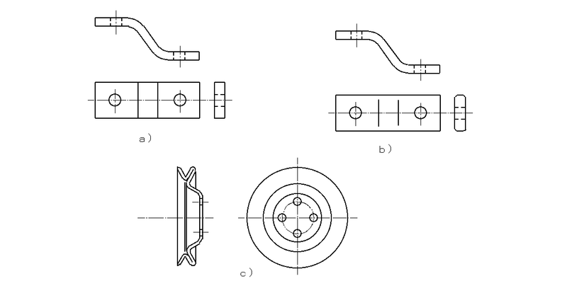
a) 交わり部に丸みがある場合に、対応する図にこの丸み部分を表す必要がある場合
には、下図のように交わり部に丸みがない場合の交線の位置に太い実線で表す。

説明はされていないが、a)とb) の違いは、b)の方に外周部に丸みがあることである。そのため正面図中央分の2本の実線は外周部につながっていない。
外周部が面取りの場合はどうなるか、面取り部の実線は省略したということで、a)のように描いておいてよい。
b) 曲面相互または曲面と平面とが交わる部分の線(相貫線)は、直線で表すか[下
図のa)b)c)d)e)及びf)参照]、正しい投影に近似させた円弧で表す
[下図のg)h)及びi)参照]。


製図は図学ではない。ここに規定されているように相貫線は、正確に描く必要はなく、直線か円弧でよい。円筒と円筒が交わる場合、直径の差があるときは問題なく直線でよいが、直径の差がない場合面倒になる。直径が同じなら直線となるが、それに近い場合、できるだけ現物に近づけたいという意識が働くのかいろいろと苦労するようである。

c) リブなどを表す線の端末は、直線のまま止める。
なお、関連する丸みの半径が著しく異なる場合には、端末を内側又は外側に曲
げて止めてもよい。

これも同様である。直線のまま止めておいてよいのだから、全てa)で描いてよいのだが、実物に近づけたくなるようで b)c)の描き方をする。もちろん正しい描き方であるが、無駄な労力を使うことになってしまう。
平面部分
図形内の特定の部分が平面であることを示す必要がある場合には、細い実線で対角線を記入する。

かくれ線で表されている部分も、記入する対角線は細い実線である。これを細い破線で記入してしまうとみずらいものになってしまう。
展開図示
板を曲げて作る対象物は又は面で構成される対象物の 展開した形状を示す必要がある場合には、展開図で示す。この場合、展開図の上側又は下側のいずれかに統一して、”展開図”と記入するのがよい。

”展開図”と記入するのは上側又は下側だが、このような文字の記入は、寸法の記入の状況により位置を気にする必要はない。記入する必要もないのだが、この場合は入れておいたほうが親切か。
加工・処理範囲の限定
対象物の面の一部に特殊な加工を施す場合には、その範囲を、外形線に平行にわずかに離して引いた太い一点鎖線によって示すことができる。また、図形中の特定の範囲又は領域を指示する必要がある場合には、その範囲を太い一点鎖線で囲む。
なお、これらの場合、特殊な加工に関する必要事項を指示する。

特殊な加工に関する必要事項とは、例えば焼き入れならば、焼入れ硬さであろうか。
”焼入れ硬さ、 HRC55~60” などと指示する。
加工部の表示
加工部の表示として a)b)2項目溶接に関することがあるのだが、特殊な図示方法としての意味がわからない。図例もあるがここでは省略する。
c) ローレット加工した部分、しま鋼板などの特徴を外形の一部分にその模様を描い
て表示してもよい。 この場合には、次の例によるのがよい。

ローレット加工は図示しただけでは加工できない。ローレット目の種類とモジュールを図に指示するのが普通である。この際は引き出し線を使用する。模様は表示しなくてもよい。

非金属材料を特に示す必要がある場合に、その表示方法が示されているが、この図も省略。
d) 図に表す対象物の 加工前又は加工後の形を図示する必要がある場合には、次によ
る。
1) 加工物の形又は粗材寸法を表すばあいには、細い二点鎖線で図示する。
2) 加工後の形、例えば、組み立て後の形を表す場合には、細い二点鎖線で図示す
る。

e) 加工に用いる工具・ジグなどの形、工具サイズなどを参考として図示する必要がある場合には、細いい二点鎖線で図示する。

これらは線の種類及び用途で示したように、想像線である。
当然図示する場合は二点鎖線である。
その他の特殊な図示方法
その他の特殊な図示方法は、次による。
a) 切断面の手前側にある部分を図示する必要がある場合には、それを細い二点鎖線
で図示する。
b) 隣接部分の図示対象部分に隣接する部分を参考として図示する必要がある場合に
は、細い二点鎖線で図示する。
対象部分の図形は、隣接部分に隠されてもかくれ線としてはならない。断面図
における隣接部分には、ハッチングを施さない。

これらの特殊な図示方法は、あくまで必要がある場合のことなので、必要性が低い場合は描くことはない。工具サイズなどは ”カッタ径Φ100” などと表示して図は描かない。描いておいたほうよいかと思っても、かえって紛らわしくなることが多い。
そのためかくれ線やハッチングは使用しないことになっている。余計のことは付け加えないほうが良い。